管家婆軟件發版公告丨以“智”增效,強化快消品行業多元場景
麗水管家婆軟件-麗信軟件機械制造行業智能工廠綜合解決方案!
麗信軟件在麗水、永康、義烏都分別設立了分支機構:麗水管家婆軟件、永康管家婆軟件、義烏管家婆軟件,目標成為麗水、永康、義烏中小企業最可值得信賴的管理軟件供應商和服務商,從用戶角度出發,把客戶100%軟件管理要求變成120%的管理效果,用戶成功,我們成功!
快消品行業多元化場景 為快消品等行業用戶提供外勤管理業務場景服務,幫助企業規范工作流程,降低運營風險。 角色 業務員、文員、倉管員(揀貨人、復檢人)、調度員、送貨人、司機等; 場景 客戶拜訪、開票房核驗、倉庫揀貨|復檢、調度配送、配送到店、交賬回單。
外勤銷售業務5步法 ※ 標準化管理流程,讓管理更高效
前后端業務交互
門店·客戶拜訪 · 支持按照客戶遠近距離|客戶添加時間展示客戶信息 · 支持查看上次拜訪記錄及未拜訪天數 · 支持查看上次銷售及未銷售天數 · 支持查看欠款金額及明細 · 支持查詢未到貨訂單 · 拜訪頁面展示拜訪成果 · 支持看看業務進度跟蹤

開票房·審單丨打印 開票房:文員查看待確認訂單(審核單據價格是否正確,商品是否能正常發貨) 01 支持訂單種類:PC端訂單、手機端訂單、微訂貨訂單 02 支持批量打印已經轉的銷售單 (*應用:設置業務基準價,開單價格小于業務基準價,自動提交主管審核)
倉庫·揀貨丨復驗登記 倉庫作業:揀貨|復檢登記;驗貨粘貼裝箱條碼 01 按單揀貨,登記揀貨人,復檢人 02 按單打印裝箱標簽;裝箱標簽數量根據輔助數量合計,支持修改;記錄打印狀態 03 支持標簽打印機
倉庫·調度配送 倉庫調度:根據路線(地區),訂單貨物多少車輛裝載,配車發貨,出車登記 01 支持按地區選擇單據進行派車 02 批量選擇單據進行出車登記 (*應用:可統計單據商品得中量和體積;可調整單據的配送順序)
門店·送達確認 · 根據“調度配送”的出車登記顯示歸屬配送任務 · 到店配送,核對商品品種|數量 · 拍照留存客戶簽收情況 · 支持3種簽收方式:全部簽收、部分簽收、全部拒收 · 支持查看“我的配送”記錄

開票房·回單登記 開票房:文員收到當天業務員|司機交回的單據進行登記 √ 確認原始單據交回公司留存 √ 支持填寫收到的金額
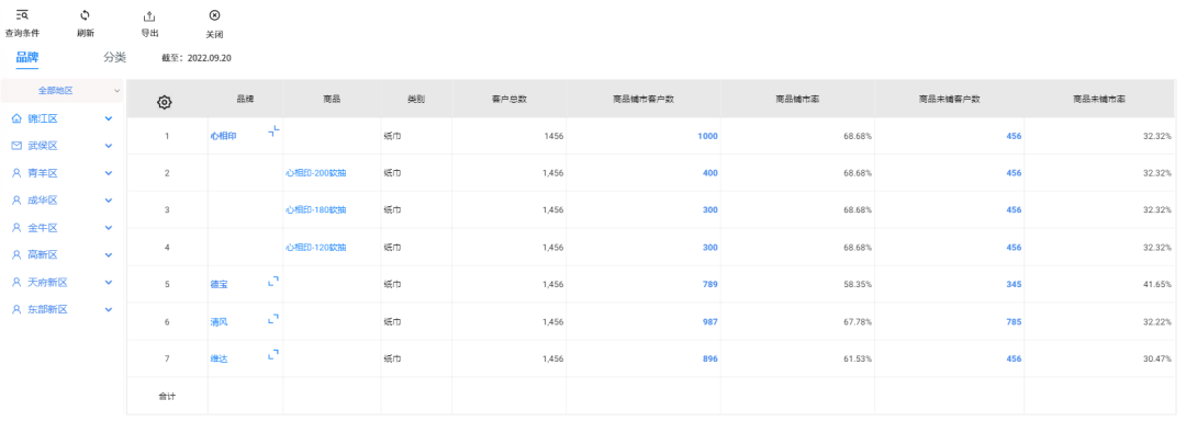
數據統計分析 01 業務進度跟蹤 從訂單下達到配送到店全業務進度跟蹤,及時通知各環節業務負責人。 △全程跟蹤訂單進度,掌握訂單實時情況 02 外勤數據 全方位多角度統計業務外勤數據,提供拜訪業務軌跡查詢、外勤匯總|明顯、外勤照片等查詢。 03 經營分析 提供商品鋪市分析,客戶銷售對比分析等,幫助用戶更好掌握市場。 ↓↓↓ 商品鋪市情況 △ 商品按照品牌及分類的鋪市情況;商品鋪市到客戶詳細情況等 ↓↓↓ 客戶銷售跟蹤 △ 掌握查詢周期的客戶銷售|拜訪情況,為下一步銷售決策提供數據支撐。






以【智】增效,數據查詢更方便 △ 說出想說想要查詢的目標,系統反饋想要的結果! 01 支持語音交互查詢 02 用戶說出想要查詢的數據,服務器解析之后反饋查詢結果。 本次版本支持: 銷售匯總表(6維度) 采購匯總表(5維度) N天未銷售客戶 逾期未收款銷售單 各種銷售排行、采購排行 。。。。。。 注:財貿云系列V22.8客戶適用

語音交互報表 √ 支持語音關鍵字查詢 √ 自動給出相同或者相似的語義供用戶選擇


更多其他功能 √ BS產品:移動管理放于左側菜單 √ BS后端:增加“操作員管理”可設置及查看手機端操作員 √ 增加“簽到半徑距離”控制 √ 增加“拍照是否允許使用手機照片”控制 √ 增加“是否啟用語音查詢功能”控制(僅適用財貿云產品) √ 單據記錄查詢優化 :記錄用戶上次查詢條件 √ 單據進入|退出優化:有具體修改內容時,才提示是否保存 √ 手機端增加“客戶拜訪” √ 手機端增加”業務進度查詢“ √ 手機端增加“我的配送” √ 手機端增加“訪銷訂單 √ 訪銷訂單選擇商品修改: ——商品選擇支持展示”常購商品 ——可展示商品類別或者品牌 ——商品選擇可直接按照單位展開 更多詳見產品!

說明 管家婆物聯寶 讓企業管理更全面,更高效 說明: 1、新增功能只能在新版本呈現使用 2、物聯寶與ERP 使用的版本必須匹配。如物聯寶V22.8支持財|工貿(包括云產品)V22.8系列 3、非V22.8 ERP版使用物聯寶老版本,詳細掃描二維碼見版本說明 注:產品功能請以實際產品為準
1、顏值提升-平板端UI全新設計 2、其他功能完善 1、掃描模式更改為全屏掃描,識別二維碼更快更準確 2、“我的”菜單按鈕更改為顯示登陸操作員名稱,更加直觀 3、工序交接增加生成完工單的快捷方式:最后一道工序交接后,提示是否生成完工驗收單 4、車間、工序、職員等TC類資料的選擇界面更改為全屏操作界面 5、登錄界面支持云賬號登錄和公司操作員登錄 3、說明 △ 請通過瀏覽器掃碼下載 僅支持安卓系統 ※ ERP對應支持版本: 工貿PRO V22.8 工貿ERP T&M系列 V22.8 √ 掌上工廠升級后請重啟ERP服務器 √ 舊版本APK安裝包請到“財貿官網?下載中心?程序周邊”下載 √ 財貿官網——產品資料下提供演示賬套說明及使用指南下載 √ 相關硬件介紹可查詢:https://shop425837461.taobao.com


供應鏈模塊改善 1、銷售報價單增加【參考零售價】,【參考成本價】字段,同時增加【查看成本】明細權限,方便更好的對客戶進行銷售報價 2、收付款單界面恢復【未分配金額轉入應收/應付】選項,配合賬套選項中的相應配置顯示 3、應收應付按單結算查詢增加經辦人查詢條件,滿足按實際交款經辦人進行收款對賬處理的業務需求 4、估價入庫退回支持部分數量退回,滿足對部分商品執行部分數量估價退回處理 5、單據查找中將經辦人、往來單位、部門、項目修改為基本信息列,支持分組小計 6、存貨多編碼功能優化: ① 新增多編碼時,如果有重復資料,處理方式更改為:支持僅覆蓋重復部分,未重復部分則追加,不影響已存在的其他資料(客戶協議價、作業指導書、供應商證照管理等資料相同處理) ② 在左側往來單位樹形結構上點新增時,新增界面默認帶入該往來單位 ③ 導出當前往來單位更改為“導出選中數據”,針對勾選的行有效;沒有勾選行則針對焦點行有效 ④ 增加全選功能,方便批量處理資料刪除和修改,修改時只能修改多編碼 生產模塊改善 1、MRP改善:M系列產品的MRP各建議中的存貨改為基本信息列 2、材料損耗明細表/委外材料損耗明細表改善:子件標準用量與任務單中子件保持用量一致 3、以下單據增加追加選單功能:簡單委外加工單、簡單委外發料單、簡單委外退料單、采購送檢單、采購檢驗單、產成品送檢單、產成品檢驗單、委外送檢單、委外檢驗單、委托結算單 4、借出還回明細表改善:增加借出/歸還人字段 5、標準BOM改善: ① 標準BOM列表界面恢復子件樹形結構 ② BOM逆向查詢雙擊成品或半成品可進入BOM維護界面 財務模塊改善 1、資產負債表取數規則優化:資產負債表的公式設置增加按【輔助項借方余額】和【輔助項貸方余額】取值(僅支持BS產品) 2、現金流量表聯查:現金流量表支持聯查明細數據,從報表到流量項目再到憑證,直達底層數據(僅支持BS產品) 變更提示:表頭【聯查】功能調整,由聯查【現金流量數據準備】改為聯查【流量項目明細】 3、優化出納-財務對賬:增加顯示期初數據,增加對賬明細,呈上下分布,協助財務人員快速完成對賬 變更提示:對賬頁面取消【出納日記賬】【財務明細賬】按鈕,增加【對賬明細】 4、賬齡分析改善:優化賬齡分析統計規則,選單結算時,按原賬齡沖銷(暫不支持外幣插件) 應用改善 1、增加補料管理 1)領料單/委外領料單表頭自定義字段3默認顯示為領料類型(正常領料、額外補料),必填 2)領料類型為額外領料時不受限額領料選項控制 3)單據審核條件增加“正常領料”、“額外補料”,按需自行設置 2、增強型MRP、自定義MRP 1)增加BOM有效性檢查,與主產品一致 2)增加合并下達委外加工單時帶出價格規則,與主產品一致 3)MRP各建議中的存貨改為基本信息列(BS ) 3、外幣管理 1)相關報表默認查詢時間改為按照登錄日期所在月份 2)明細賬和往來對賬增加本期合計行 3)收款單是預收沖應收時(付款單同理),顯示方向放在本期減少上,分成兩行,以正負的形式顯示 4)往來明細只有預收或預付時,均顯示到本期減少,顯示正數 5)往來對賬增加:開單單位、開單數量、開單單價 4、基本信息管理 1)客戶信用額度需要修改為可以錄入空; 2)BOM批量變更支持上表體過濾。 5、發票立賬 1)銷售發票、銷售退庫單支持追加選單; 2)支持設置估價入庫單的應付科目; 6、銷售費用 待審核的銷售費用單、銷售費用分配單支持在單據審核查詢、單據審核中心查詢及審核 7、ERP系統登錄權限控制,云產品BS版本支持MAC地址登陸控制,提升企業經營數據安全性 其他變更列表 1、客戶信用額度優化:新增客戶檔案,信用額度默認為空,表示沒有額度限制;為0表示無信用額度,可滿足現收業務的管理需求,避免資金風險 2、客戶往來報表:超額度應收賬款在取數時,如果客戶設置的信用額度為空,則不取,否則按照現在的規則進行取數 3、三大財務報表去掉表頭的聯查按鈕,表體能聯查的單元格以藍色字體顯示,可點擊數字進行聯查
麗水管家婆分公司
管家婆軟件麗水地區授權代理商:麗水管家婆軟件
聯系方式:15925796227 胡經理
管家婆官網:http://www.yuezuai.com/
公司地址:浙江省麗水市蓮都區慶春街綠谷信息產業園天寧孵化基地2幢三樓206室
永康管家婆分公司
管家婆軟件永康地區授權代理商:永康管家婆軟件
聯系方式:18267050023 章經理
管家婆官網:http://www.zjlxrj.com/
公司地址:浙江省金華市永康市總部中心金族大廈23樓
義烏管家婆分公司
管家婆軟件義烏地區授權代理商:義烏管家婆軟件
聯系方式:18072378755 方經理
管家婆官網:http://www.ywgrasp.cn/
公司地址:浙江省金華市義烏市義烏市東苑街道幸福里電子產業園a9棟802